شیر پروانه ای دسته شیاردار وزن سبکی دارد، سرعت سوئیچ نسبتاً بالایی دارد و فاصله کاری کمی دارد. روی آن کلمات مقیاس باز و بسته وجود دارد که می تواند به راحتی وضعیت سوئیچینگ را شناسایی کند.
شیر پروانه ای دسته شیاردار وزن سبکی دارد، سرعت سوئیچ نسبتاً بالایی دارد و فاصله کاری کمی دارد. روی آن کلمات مقیاس باز و بسته وجود دارد که می تواند به راحتی وضعیت سوئیچینگ را شناسایی کند.
| مواد بدنه | چدن گره ای |
| مدل | D81X-16Q |
| مشخصات | DN50-200 |
| فشار اسمی | 1.0/1.6/2.5Mpa |
| دمای عملیاتی | 0-80 درجه سانتیگراد |
| رسانه قابل اجرا | آب |
| استانداردهای طراحی | GB/24924-2016 |
بررسی اجمالی محصول
این شیر یک شیر پروانه ای مهر و موم شده لاستیکی (NBR) است که به طور گسترده در سیستم های لوله کشی آبرسانی و زهکشی در برق، هیدرولیک، متالورژی، صنایع شیمیایی، ساخت و ساز شهری و سایر صنایع به عنوان یک دستگاه باز و بسته یا تنظیم کننده برای کنترل جریان رسانه استفاده می شود. شیر پروانه ای شیاردار (گیره دار) نوع جدیدی از شیر اتصال است که با معرفی محصولات پیشرفته مشابه از آمریکا و آلمان طراحی و تولید شده است.
ویژگی ها
نصب آن سریع، آسان و ایمن است، توسط محل نصب محدود نمی شود، برای تعمیر و نگهداری خطوط لوله و شیرها مناسب است، دارای عایق لرزش و صدا است و بر انحراف ناشی از اتصال کواکسیال خطوط لوله در محدوده زاویه مشخصی غلبه می کند. مزایای انبساط و انقباض حرارتی ناشی از اختلاف دما را حل می کند.
پارامترهای محصول
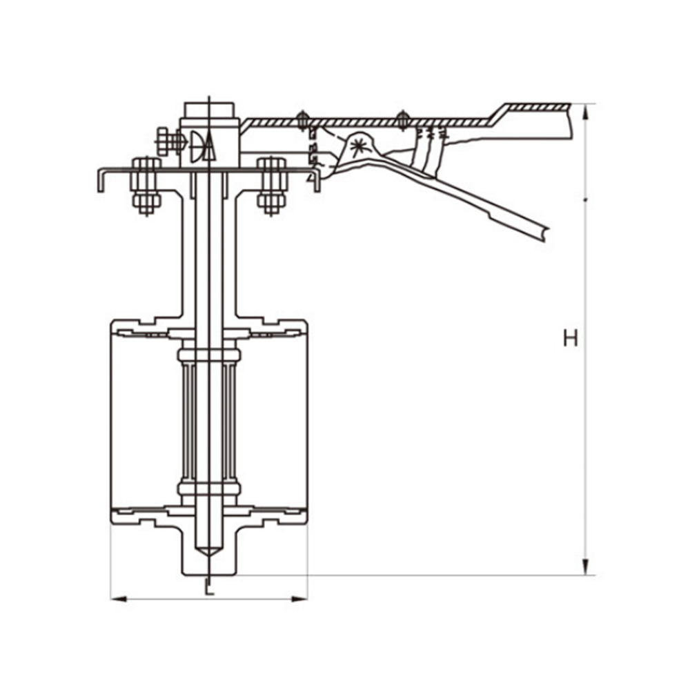
| D81X-16Q | DN | 50 | 65 | 80 | 100 | 125 | 150 | ||
| L | 80 | 80 | 80 | 102 | 110 | 110 | |||
| اچ | 180 | 195 | 215 | 260 | 285 | 315 | |||
| دایره بیرونی | 60 | 76 | 89 | 108 | 114 | 140 | 159 | 165 | |
درباره چانگشوی
Changshui Technology Group Co., Ltd.is a valve integrating R&D, manufacturing, sales and service The manufacturer is currently one of the main suppliers of general-purpose valves in China. The main products are: gate valves, globe valves, butterfly valves, ball valves, check valves, regulating valves, pressure reducing valves, diaphragm valves, plug valves, plunger valves, drains Valves, hydraulic control valves, etc. محصولات با کیفیت بالا مورد تحسین و احترام کاربران در صنایع مختلف قرار گرفته اند و به طور گسترده در صنایع ساختمانی، گرمایشی، آبرسانی، نفت، شیمیایی، برق و سایر صنایع مورد استفاده قرار می گیرند! هدف این شرکت کمک به جامعه با محصولات باکیفیت است. هدف ما جلب رضایت کاربران است. خط مشی کیفیت ما این است: "برآوردن نیازها و انتظارات کاربران برای کیفیت محصول و جهش رو به جلو سطح مدیریت کیفیت درجه یک، تولید محصولات درجه یک، ایجاد خدمات درجه یک، "صنعت CSHUValve دارای این شرکت است که مایل است با دوستان جدید و قدیمی، و همکاران در جامعه کار کند، و کاربران در داخل و خارج از کشور دوباره دست به دست هم بدهند، و Floor، جدید!
مقدمه ای بر اجزای شیر پروانه ای شیر پروانه ای یک نوع شیر همه کاره و پرکاربرد در صنایع مختلف است که به دلیل طراحی فشرده و عملکرد قابل اعتماد آن ش...
READ MOREمشکلات رایج دریچه دروازه شیرهای دروازه ای اجزای ضروری در سیستم های مختلف صنعتی و مسکونی هستند که روشی مطمئن برای کنترل جریان آب یا گاز ارائه می ...
READ MOREدرک سوپاپ های چک شیر چک وسیله ای مکانیکی است که اجازه می دهد سیال یا گاز فقط در یک جهت جریان یابد. عملکرد اصلی آن جلوگیری از جریان برگشتی است که...
READ MORE1. مروری بر چدن داکتیل چدن داکتیل که با نام های چدن گره ای یا چدن گرافیت کروی نیز شناخته می شود، نوعی چدن است که با استحکام بالا، شکل پذیری عالی...
READ MORE1. درک سوپاپ ها و صندلی ها سوپاپ ها و صندلی ها اجزای ضروری در کنترل جریان مایعات یا گازها در خطوط لوله، موتورها و ماشین آلات هستند. دریچه به عنو...
READ MORE